Мороз и кофе
Бренды
Акции
Компания
  • О компании
  • Сертификаты
  • Отзывы
  • Документы
Новости
Контакты
    8 (800) 200-41-19
    Заказать звонок
    Каталог
    Бытовая техника
    БЫТОВАЯ ХИМИЯ
    УЦЕНЕННЫЕ ТОВАРЫ
    Мойки, смесители, мусорные системы и аксессуары
    Наполнение для кухонь
    Телевизоры
    Профессиональная техника
    Посуда и кухонные принадлежности
    Уценённые товары
    • Бытовая техника
      • Встраиваемая техника
        Встраиваемая техника
        • Варочные поверхности      
          • Газовая поверхность
          • Индукционная поверхность
          • Стеклокерамическая поверхность
          • Электрическая поверхность
          • Комбинированная поверхность
          • Барбекю
          • Электрический встраиваемый гриль
        • Комплекты      
          • Комплект варка + духовка + свч
          • Комплект варка + духовка + свч + пмм + холодил.
        • Мусорные системы и системы хранения      
          • Сейф
        • Духовые шкафы      
          • Электрический духовой шкаф
          • Газовый духовой шкаф
          • Компактный духовой шкаф
          • Ящик для подогрева посуды
          • Вакуумный упаковщик
        • Посудомоечные машины      
          • Встраиваемая посудомоечная машина
          • Компактная встраиваемая посудомоечная машина
        • Микроволновые печи      
          • Встраиваемая микроволновая печь
        • Кофемашины      
          • Встраиваемая кофемашина
        • Пароварки      
          • Пароварка
        • Стиральные и сушильные машины      
          • Стиральная машина встраиваемая
          • Сушильная машина встраиваемая
          • Стирально-сушильная машина встраиваемая
        • Холодильники и морозильники      
          • Однокамерный холодильник встраиваемый
          • Двухкамерный холодильник встраиваемый
          • Трехкамерный холодильник встраиваемый
          • Холодильник Side-by-Side встраиваемый
          • Морозильная камера встраиваемая
        • Винные шкафы      
          • Встраиваемый винный шкаф
          • Ящик сомелье
        • Сеты варка + духовка      
          • Встраиваемый сет: духовой шкаф + поверхность
        • Еще
      • Кухонные вытяжки
        Кухонные вытяжки
        • Вытяжки встраиваемые      
          • Вытяжка телескопическая
          • Вытяжка в подвесной шкаф
          • Вытяжка в потолок
          • Вытяжка в столешницу
        • Вытяжки отдельностоящие      
          • Вытяжка наклонная
          • Вытяжка островная кубическая
          • Вытяжка островная Т-образная
          • Вытяжка островная цилиндрическая
          • Вытяжка пристенная кубическая
          • Вытяжка пристенная Т-образная
          • Вытяжка пристенная цилиндрическая
          • Вытяжка пристенная
          • Вытяжка классическая
          • Вытяжка островная
          • Вытяжка угловая
          • Вытяжка стандартная
      • Крупная бытовая техника
        Крупная бытовая техника
        • Красота и здоровье      
          • Холодильник для косметики
        • Холодильники и морозильники      
          • Однокамерный холодильник отдельностоящий
          • Двухкамерный холодильник отдельностоящий
          • Трехкамерные холодильники отдельностоящие
          • Многокамерный холодильник отдельностоящий
          • Холодильник Side-by-Side отдельностоящий
          • Морозильная камера отдельностоящая
          • Морозильный ларь
          • Холодильный ларь
          • Холодильный шкаф для хранения шуб
          • Льдогенератор
        • Стиральные и сушильные машины      
          • Стиральная машина с фронтальной загрузкой
          • Стиральная машина с вертикальной загрузкой
          • Стирально-сушильная машина отдельностоящая
          • Сушильная машина отдельностоящая
          • Сушильный шкаф
        • Посудомоечные машины      
          • Отдельностоящая посудомоечная машина
          • Компактная отдельностоящая посудомоечная машина
        • Винные шкафы      
          • Отдельностоящий винный шкаф
          • Отдельностоящий минибар
          • Холодильник для сигар
        • Плиты      
          • Газовая плита
          • Стеклокерамическая плита
          • Индукционная плита
          • Электрическая плита
          • Комбинированная плита
          • Варочный центр
        • Техника для кухни      
          • Диспенсер для воды
      • Мелкая бытовая техника
        Мелкая бытовая техника
        • Кофемашины      
          • Вспениватель молока
          • Кофе зерновой
          • Кофеварка
          • Кофейная станция
          • Кофемолка
          • Отдельностоящая кофемашина
        • Красота и здоровье      
          • Весы напольные
        • Кухонные принадлежности      
          • Мельница электрическая
          • Точилка для ножей
          • Штопор электрический
        • Микроволновые печи      
          • Отдельностоящая микроволновая печь
        • Пылесосы      
          • Пылесос
          • Робот — мойщик окон
          • Швабра паровая
        • Техника для кухни      
          • Аэрогриль
          • Блендер
          • Блинница
          • Вакуумный упаковщик отдельностоящий
          • Вафельница
          • Весы кухонные
          • Вспениватель молока
          • Газовая плитка
          • Гриль
          • Диспенсер для воды
          • Измельчитель
          • Индукционная плитка
          • Кофеварка
          • Кофемолка
          • Кухонный комбайн
          • Ломтерезка
          • Миксер
          • Мини-печь
          • Мультиварка
          • Мультипекарь
          • Мультирезка
          • Мясорубка
          • Овощерезка
          • Соковыжималка
          • Сушка для овощей
          • Сэндвичница
          • Термопот
          • Тостер
          • Хлебопечь
          • Чайник
          • Электрическая плитка
        • Уход за одеждой      
          • Отпариватель
          • Паровая гладильная станция
          • Утюг
      • Климатическая техника
        Климатическая техника
        • Климатическая техника      
          • Вентилятор
          • Водонагреватель накопительный
          • Водонагреватель проточный
          • Газовая колонка
          • Газовый котел
          • Конвектор
          • Кондиционер сплит-система
          • Обогреватель
          • Радиатор
          • Увлажнитель воздуха
      • Запчасти и аксессуары для техники
        Запчасти и аксессуары для техники
        • Аксессуары для техники и вытяжек      
          • Аксессуары для варочных поверхностей
          • Аксессуары для винных шкафов
          • Аксессуары для духовых шкафов
          • Аксессуары для кофемашин
          • Аксессуары для мбт
          • Аксессуары для микроволновых печей
          • Аксессуары для посудомоечных машин
          • Аксессуары для пылесосов
          • Аксессуары для стиральных и сушильных машин
          • Аксессуары для холодильников
          • Багеты и планки для вытяжек
          • Запчасти и аксессуары для вытяжек
          • Пульт для вытяжки
          • Фильтр жировой для вытяжки
          • Фильтр угольный для вытяжки
        • Уход за одеждой      
          • Гладильная доска
    • БЫТОВАЯ ХИМИЯ
      • Бытовая химия для моек
        Бытовая химия для моек
        • Средства чистящие и моющие      
          • Средство для кухонных моек
      • Бытовая химия для техники
        Бытовая химия для техники
        • Средства чистящие и моющие      
          • Салфетка
          • Средство для кофемашин
          • Средство для посудомоечных машин
          • Средство для посудомоечных машин Честный Знак
          • Средство для посуды
          • Средство для стирки
          • Средство для стирки ЧЗ
    • УЦЕНЕННЫЕ ТОВАРЫ
      • Уценка
        • Варочные поверхности      
          • Газовая поверхность
          • Индукционная поверхность
        • Вытяжки встраиваемые      
          • Вытяжка в подвесной шкаф
          • Вытяжка телескопическая
        • Вытяжки отдельностоящие      
          • Вытяжка классическая
          • Вытяжка наклонная
        • Духовые шкафы      
          • Электрический духовой шкаф
        • Мойки из металла и камня      
          • Мойка гранитная
          • Мойка из нержавеющей стали
        • Посудомоечные машины      
          • Встраиваемая посудомоечная машина
        • Стиральные и сушильные машины      
          • Стиральная машина с фронтальной загрузкой
        • Фильтры и аксессуары для техники      
          • Багеты и планки для вытяжек
    • Мойки, смесители, мусорные системы и аксессуары
      • Запчасти для моек, смесителей, измельчителей и мусорных систем
        Запчасти для моек, смесителей, измельчителей и мусорных систем
        • Аксессуары для кухни и выдвижные системы      
          • Лоток для столовых приборов и посуды
        • Аксессуары для моек и смесителей      
          • Аксессуары для дозаторов
          • Аксессуары для измельчителей пищевых отходов
          • Аксессуары для кухонных моек
          • Аксессуары для системы сортировки отходов
          • Аксессуары для смесителей
        • Кухонные принадлежности      
          • Точилка для ножей
        • Смесители и фильтры для воды      
          • Фильтр для воды
      • Кухонные мойки
        Кухонные мойки
        • Мойки из металла и камня      
          • Мойка гранитная
          • Мойка из искусственного мрамора
          • Мойка из натуральной меди/латуни
          • Мойка из нержавеющей стали
          • Мойка керамическая
      • Смесители
        Смесители
        • Смесители и фильтры для воды      
          • Комплект смеситель + фильтр
          • Кран для питьевой воды
          • Смеситель «под гранит»
          • Смеситель из металла
          • Смеситель хром/гранит
      • Измельчители пищевых отходов
        Измельчители пищевых отходов
        • Измельчители пищевых отходов      
          • Измельчитель пищевых отходов
      • Дозаторы
        Дозаторы
        • Дозаторы      
          • Дозатор моющего средства
      • Системы мусорные
        Системы мусорные
        • Мусорные системы и системы хранения      
          • Система сортировки и хранения мусора
      • Аксессуары для кухонных моек и смесителей
        Аксессуары для кухонных моек и смесителей
        • Аксессуары для моек, смесителей и измельчителей      
          • Аксессуары для кухонных моек и смесителей
    • Наполнение для кухонь
      • Выдвижные системы
        Выдвижные системы
        • Аксессуары для кухни и выдвижные системы      
          • Аксессуары для выдвижных систем
          • Корзина
          • Механизмы для кухонных тумб
          • Механизмы для шкафов
        • Уход за одеждой      
          • Гладильная доска
      • Лотки и вкладыши
        Лотки и вкладыши
        • Аксессуары для выдвижных систем
        • Аксессуары для кухни и выдвижные системы      
          • Контейнер
          • Лоток для столовых приборов и посуды
      • Розетки
        Розетки
        • Аксессуары для кухни и выдвижные системы      
          • Встраиваемая розетка
      • Светильники
        Светильники
        • Аксессуары для кухни и выдвижные системы      
          • Выключатель
          • Кабель и другая электроарматура
          • Светильник галогенный
          • Светильник светодиодный
      • Сушилки для посуды
        Сушилки для посуды
        • Аксессуары для кухни и выдвижные системы      
          • Аксессуары для выдвижных систем
          • Механизмы для шкафов
    • Телевизоры
      • Теле-видео-аудио техника
        Теле-видео-аудио техника
        • Телевизоры и аксессуары      
          • Телевизор
    • Профессиональная техника
      • Професcиональная техника
        Професcиональная техника
        • Духовые шкафы      
          • Электрический духовой шкаф
        • Кофемашины      
          • Кофемолка
          • Отдельностоящая кофемашина
        • Посудомоечные машины      
          • Отдельностоящая посудомоечная машина
        • Стиральные и сушильные машины      
          • Профессиональная стиральная машина
          • Профессиональная сушильная машина
        • Техника для кухни      
          • Кофемолка
          • Печь конвекционная
        • Холодильники и морозильники      
          • Морозильная камера отдельностоящая
          • Однокамерный холодильник встраиваемый
          • Однокамерный холодильник отдельностоящий
    • Посуда и кухонные принадлежности
      • Посуда
        Посуда
        • Кухонные принадлежности      
          • Емкости для специй и масел
          • Емкости для хранения сыпучих продуктов
          • Корзина для фруктов
          • Мельница электрическая
          • Набор для Teppan Yaki
          • Ножи
          • Форма для выпечки
          • Штопор электрический
      • Посуда
        Посуда
        • Кастрюля
        • Ковш
        • Крышка
        • Набор посуды
        • Сковорода
        • Сотейник
    • Уценённые товары
    Войти
    0 Сравнение
    0 Избранное
    0 Корзина
    Мороз и кофе
    Каталог
    Войти
    0 Сравнение
    0 Избранное
    0 Корзина
    Мороз и кофе
    Телефоны
    8 (800) 200-41-19
    Заказать звонок
    0
    0
    0
    Мороз и кофе
    • Кабинет
    • 0 Сравнение
    • 0 Избранное
    • 0 Корзина
    • 8 (800) 200-41-19
      • Назад
      • Телефоны
      • 8 (800) 200-41-19
      • Заказать звонок
    • info@morozkofe.ru
    • 603006 г. Нижний Новгород, пл. Свободы, д. 7, пом. П1
    • Пн.-Пт.: 10:00-19:00 
      Суббота с 10:00 до 19:00
      Воскресенье с 10:00 до 18:00
    Главная
    Бренды
    Emar

    Emar

    Emar

    ЕМАR - это богатое разнообразие кухонных моек, смесителей, кухонных ручек, мебельной фурнитуры отвечающей требованиям высокого качества и последним модным тенденциям. Современный рынок предлагает широкий ассортимент различных кухонных аксессуаров, выполненных в самых разных дизайнерских направлениях. Это позволяет удовлетворить запросы потребителей с любыми вкусами, финансовыми возможностями и предпочтениями. Любой стиль, складывается из мелочей.Cобственное производство на территории РФ.PVD- производится по собственному ТЗ.Нержавейка - производится в Китае. Камень - производится в России

    При производстве каменных моек EMAR QUARTZ используются измельченный кварц разных фракций и связующие полиэфирные смолы. Дополнительные связующие компоненты образуют антибактериальную защиту.Кухонные мойки EMAR QUARTZ имеют высокую устойчивость к механическим повреждениям(царапинам), термическим ударам, абразивным материалам и красящим веществам.Цветовая палитра кухонных моек EMAR QUARTZ представлена в 11 цветах.

    Гарантия на кухонные мойки EMAR QUARTZ -  5 лет.

    Основные характеристики и преимущества EMAR QUARTZ:

    • Высокая механическая прочность.
    • Высокая устойчивость к абразивным материалам.
    • Изделие полностью однородно по структуре и цвету. В изделиях отсутствует декоративно-защитный слой (гелькоут). 
    • Высокая стойкость к термическим ударам.
    • Высокая устойчивость к органическим растворителям, а также кислотным и щелочным средам.
    • Отсутствие эмиссии вредных веществ при нагревании мойки.
    • Высокая термостойкость: длительная — 150 С°, кратковременная — 200 С°.
    • Прецизионная механическая обработка дает идеальное прилегание мойки к столешнице.

    К кухонным мойкам EMAR QUARTZ представлен широкий выбор смесителей и дозаторы в цвет моек.

    Кухонные мойки и смесители с PVD покрытием более практичны в уходе и удобны в эксплуатации. Более устойчивы к механическим повреждениям и царапинам, не оставляет отпечатки пальцев, легко удаляется жир, грязь и разводы от воды.

    Кухонные мойки и смесители с PVD покрытием доступны в следующих цветах:

    • Золото
    • Чёрный
    • Медь
    • Сатин
    Подробнее
    Сначала популярные
    С начала алфавита
    С конца алфавита
    Сначала непопулярные
    Сначала популярные
    Сначала дешевые
    Сначала дорогие
    По возрастанию наличия
    По убыванию наличия
    Быстрый просмотр
    Фото товара: Emar ЕД-405D.PVD Dark, дозатор для моющего средства, вороненая сталь Детальное фото товара: Emar ЕД-405D.PVD Dark, дозатор для моющего средства, вороненая сталь Детальное фото товара: Emar ЕД-405D.PVD Dark, дозатор для моющего средства, вороненая сталь Детальное фото товара: Emar ЕД-405D.PVD Dark, дозатор для моющего средства, вороненая сталь
    3 500 руб.
    Emar ЕД-405D.PVD Dark, дозатор для моющего средства, вороненая сталь Дозатор моющего средства
    0
    Арт. ЕД-405D.PVD Dark
    В корзину
    Быстрый просмотр
    Фото товара: Emar EMQ-1510.Q, мойка, гранит, берилл
    14 490 руб.
    Emar EMQ-1510.Q, мойка, гранит, берилл Мойка гранитная
    0
    Арт. EMQ-1510.Q Берилл
    В корзину
    Быстрый просмотр
    Фото товара: Emar EM-T6080LQ, мойка, нержавеющая сталь Детальное фото товара: Emar EM-T6080LQ, мойка, нержавеющая сталь
    8 660 руб.
    Emar EM-T6080LQ, мойка, нержавеющая сталь Мойка из нержавеющей стали
    0
    Арт. T6080LQ
    В корзину
    Быстрый просмотр
    Emar EMQ-2800.Q, мойка, гранит, опал
    20 790 руб.
    Emar EMQ-2800.Q, мойка, гранит, опал Мойка гранитная
    0
    Арт. EMQ-2800.Q Опал
    Заказать
    Быстрый просмотр
    Emar EMQ-1510.Q, мойка, гранит, цитрин
    14 490 руб.
    Emar EMQ-1510.Q, мойка, гранит, цитрин Мойка гранитная
    0
    Арт. EMQ-1510.Q Цитрин
    Заказать
    Быстрый просмотр
    Фото товара: Emar 3012.12, смеситель, гранит, оникс
    12 530 руб.
    Emar 3012.12, смеситель, гранит, оникс Смеситель «под гранит»
    0
    Арт. 3012.12 Оникс
    Заказать
    Быстрый просмотр
    Фото товара: Emar EMQ-1415.Q, мойка, гранит, агат
    12 680 руб.
    Emar EMQ-1415.Q, мойка, гранит, агат Мойка гранитная
    0
    Арт. EMQ-1415.Q Агат
    Заказать
    Быстрый просмотр
    Emar 3014.3, смеситель, гранит, кварц
    14 060 руб.
    Emar 3014.3, смеситель, гранит, кварц Смеситель «под гранит»
    0
    Арт. 3014.3 Кварц
    Заказать
    Быстрый просмотр
    Emar 3013.3, смеситель, гранит, кварц
    8 810 руб.
    Emar 3013.3, смеситель, гранит, кварц Смеситель «под гранит»
    0
    Арт. 3013.3 Кварц
    Заказать
    Быстрый просмотр
    Emar 3013.10, смеситель, гранит, опал
    8 810 руб.
    Emar 3013.10, смеситель, гранит, опал Смеситель «под гранит»
    0
    Арт. 3013.10 Опал
    В корзину
    Быстрый просмотр
    Emar 3011.2, смеситель, гранит, топаз
    8 580 руб.
    Emar 3011.2, смеситель, гранит, топаз Смеситель «под гранит»
    0
    Арт. 3011.2 Топаз
    Заказать
    Быстрый просмотр
    Emar 3009.2, смеситель, гранит, топаз
    8 580 руб.
    Emar 3009.2, смеситель, гранит, топаз Смеситель «под гранит»
    0
    Арт. 3009.2 Топаз
    Заказать
    Быстрый просмотр
    Emar 3009.10, смеситель, гранит, опал
    8 580 руб.
    Emar 3009.10, смеситель, гранит, опал Смеситель «под гранит»
    0
    Арт. 3009.10 Опал
    Заказать
    Быстрый просмотр
    Emar 3007.3, смеситель, гранит, кварц
    14 930 руб.
    Emar 3007.3, смеситель, гранит, кварц Смеситель «под гранит»
    0
    Арт. 3007.3 Кварц
    Заказать
    Быстрый просмотр
    Emar 3007.10, смеситель, гранит, опал
    14 930 руб.
    Emar 3007.10, смеситель, гранит, опал Смеситель «под гранит»
    0
    Арт. 3007.10 Опал
    Заказать
    Быстрый просмотр
    Emar 3003N.2, смеситель, гранит, топаз
    14 480 руб.
    Emar 3003N.2, смеситель, гранит, топаз Смеситель «под гранит»
    0
    Арт. 3003N.2 Топаз
    Заказать
    Быстрый просмотр
    Фото товара: Emar EM-T6080RQ, мойка, нержавеющая сталь
    8 660 руб.
    Emar EM-T6080RQ, мойка, нержавеющая сталь Мойка из нержавеющей стали
    0
    Арт. T6080RQ
    В корзину
    Быстрый просмотр
    Фото товара: Emar 3011.1, смеситель, гранит, сардоникс Детальное фото товара: Emar 3011.1, смеситель, гранит, сардоникс
    8 580 руб.
    Emar 3011.1, смеситель, гранит, сардоникс Смеситель «под гранит»
    0
    Арт. 3011.1 Сардоникс
    В корзину
    Быстрый просмотр
    Фото товара: Emar 3003N.1, смеситель, гранит, cардоникс Детальное фото товара: Emar 3003N.1, смеситель, гранит, cардоникс
    14 480 руб.
    Emar 3003N.1, смеситель, гранит, cардоникс Смеситель «под гранит»
    0
    Арт. 3003N.1 Сардоникс
    Заказать
    Быстрый просмотр
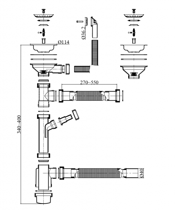
    Фото товара: Emar ESQ-2P, сифон двухчашевой мойки с переливом
    2 940 руб.
    Emar ESQ-2P, сифон двухчашевой мойки с переливом
    0
    В корзину
    Загрузить еще
    1 ... 20 21 22 23
    Назад к списку
    Подписаться
    на новости и акции
    Интернет-магазин
    Каталог
    Акции
    Бренды
    Компания
    О компании
    Сертификаты
    Отзывы
    Документы
    Информация
    Реквизиты
    Магазины
    Рекламные материалы
    Помощь
    Условия оплаты
    Условия доставки
    Оферта
    Возврат и обмен
    Вопрос-ответ
    Контакты
    8 (800) 200-41-19
    info@morozkofe.ru
    603006 г. Нижний Новгород, пл. Свободы, д. 7, пом. П1
    Мы в соцсетях
    2025 © morozkofe.ru ®. Сайт носит информационный характер и не является
    публичной офертой, определяемой положениями ч. 2 ст. 437 ГК РФ. Внешний
    вид, цвет и характеристики товаров указаны ориентировочно, могут не
    совпадать с обновленными моделями. Просим уточнять информацию на
    официальном сайте производителя или у вашего менеджера при заказе.
    Согласие на обработку персональных данных Политика конфиденциальности и обработки персональных данных
    Оферта
    Разработано в
    Главная Каталог 0 Корзина 0 Избранные Кабинет 0 Сравнение Акции Контакты Услуги Бренды Отзывы Компания Лицензии Документы Реквизиты Поиск Блог Обзоры